元股证券:ygzq.hk华统股份披露一季报,公司2026年一季度实现营业收入18.65亿元,同比下降10.31%;归母净利润亏损2.41亿元,上年同期盈利3420.42万元,同比由盈转亏。
举报 第一财经广告合作,请点击这里此内容为第一财经原创,著作权归第一财经所有。未经第一财经书面授权,不得以任何方式加以使用,包括转载、摘编、复制或建立镜像。第一财经保留追究侵权者法律责任的权利。如需获得授权请联系第一财经版权部:banquan@yicai.com 相关阅读

国家统计局:7月份社会消费品零售总额增长3.7%
国家统计局:7月份社会消费品零售总额增长3.7%

17 2025-08-15 10:02

杠杆资金重仓股曝光 东方财富居首
杠杆资金重仓股曝光 东方财富居首
配资网站 2025-08-14 08:55

寒武纪今日涨停 涪陵广场路席位净买入10.86亿元
寒武纪今日涨停 涪陵广场路席位净买入10.86亿元
2025-08-12 17:29

杠杆资金重仓股曝光 中际旭创居首
杠杆资金重仓股曝光 中际旭创居首
2025-08-12 09:11

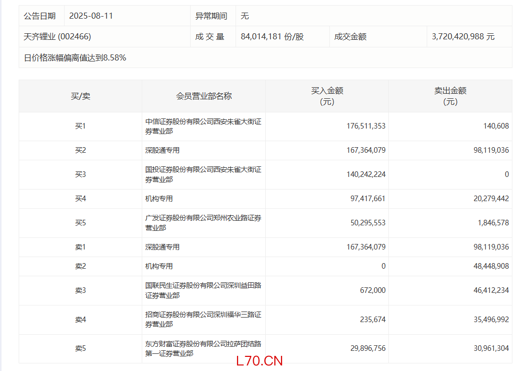
天齐锂业今日涨停 深股通净买入6924.50万元盈信证券
天齐锂业今日涨停 深股通净买入6924.50万元
2025-08-11 17:13 一财最热 点击关闭
环宇证券广东配资网|实盘配资平台提示:本文来自互联网,不代表本网站观点。